欢迎来到知行易!
我们的微信 联系我们 在线交流

全国服务热线:400-993-5553

热线电话:
400-993-5553
“hello 酷狗”终于注册成功!声音也可以注册商标!

熟悉的声音总是令人难忘,一段耳熟能详的旋律或话语,能让人瞬间回忆起与它相关的点滴,这就是声音无形的魔力。如摩托罗拉的“Hello MOTO”,腾讯QQ的“嘀嘀嘀嘀嘀嘀”,以及酷狗APP的开机提示音“HELLO KUGOU”……

这些简单、易记又极具特点的声音更使其所代表的品牌在极短的时间内被消费者熟记并对消费者起到潜移默化的作用。所以有不少企业开始重视声音商标的申请。

商标局官网数据显示,酷狗共申请了34件声音商标。

图片来源/商标局

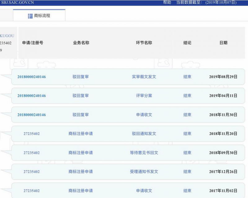
然而,2017年酷狗申请的2件“Hello Kugou”(指定使用在第9类—计算机软件可下载的手机铃音等服务上)商标均遭到了驳回。

酷狗表示不服,并申请了复审。


图片来源/商标局

“HELLO KUGOU”已复审成功

酷狗表示,此商标是独创的听觉形象识别标识,具备商标应有的显著性和识别性。并且,经过宣传和使用已具有较高的知名度和影响力。其拥有的“酷狗”商标已被认定为第41类“提供在线音乐(非下载)”服务的中国驰名商标,“HELLO KUGOU”商标也已获得了在中国大陆第9类及第41类上的注册。甚至,申请商标已经在中国香港地区、美国、欧盟获得注册保护。

商评委认为:申请人提交的证据可以证明申请商标指定使用在计算机软件(已录制)、计算机程序(可下载软件)等商品上,经过长期使用已与申请人建立起特定联系,取得了商品来源的显著特征。

27235402号“Hello Kugou”(声音商标)商标指定使用在计算机软件(已录制)、计算机程序(可下载软件)等商品上的注册申请予以初步审定,指定使用在其余复审商品上的注册申请予以驳回。

27235401号“Hello Kugou”(声音商标)商标指定使用在提供在线音乐(非下载)一项复审服务上的注册申请予以初步审定,指定使用在其余复审服务上的注册申请予以驳回。

图片来源/图虫创意

声音商标已被广泛认可

目前,超过38个商标主管局接受音乐声音作为商标注册,超过28个主管局接受非音乐声音作为商标注册。

美国是最早承认声音可以作为商标申请的国家,欧洲法院也在2003年明确了声音商标可以作为商标注册。澳大利亚、土耳其、智利、法国、日本、新西兰、澳大利亚、俄罗斯等国家、我国香港和台湾地区的商标法也都规定了声音商标。

其实,声音商标的注册是有一定难度的,但最主要还是看其是否具备商标应当具备的显著性。毕竟,对声音商标这种非传统商标来说,消费者很难直接将其作为指示商品或服务来源的标志加以识别。只有经过经营者的长期宣传、使用,消费者才能将某一声音与经营者之间建立起联系,继而提高声音商标的显著特征。但是,这类商标被驳回了并不代表对商标判了“死刑”,还可以抓住驳回复审的机会取得商标权。

 

温馨提醒:商标如果被驳回,必须在收到商标局驳回通知的15日内,向商标局评审委员会提出复审。

驳回复审是商标驳回后唯一的救济途径,应根据自己的商标情况进行分析!


知行易的优势

更多服务 更多优势 我们总是多一点

  • 价格透明

    统一报价,无隐形消费

  • 信息安全

    个人信息安全有保障

  • 专人服务

    一对一专属顾问

  • 售后无忧

    服务出问题客服经理全程跟进